近日,龙拱港将二维码技术与港区安全巡查监督相结合,通过开发云上龙拱APP获取“码”上信息,探索全覆盖、全区域、全时段监督新模式,助力港口安全管理水平再提升。

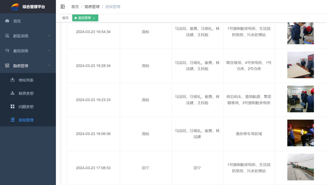
目前,龙拱港已将“码”上巡查应用至日常港区隐患排查以及生产岗前智慧点检。通过扫描设置在港区各个关键区域的二维码,可形成“时间+人员+定位+问题+照片”全面客观的巡查内容,根据问题属性发送到整改责任人的账号中,从发现问题人员到整改负责人员,整个流程清晰透明,形成督办整改闭环。同时各类巡查情况和督导记录全部由系统自动生成,方便工作台账随时扫码查阅,实现港区安全生产标准化、精细化管理。

龙拱港以“安全+互联网”的创新技术手段,通过“人防向智防转变”,助力线上安全监管,让问题更清晰、责任更具体、巡查更精准,保障港口高质量安全运营。
文/图丨张哲(龙拱港)
受理本司相关的咨询、意见、建议、投诉等事宜,请填写真实个人信息,以便于沟通联络。